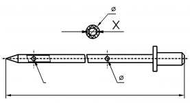
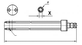
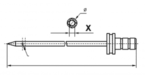
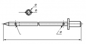
Las agujas son el consumible mas indispensable para una maquina inyectadora en la industria cárnica.
- Ofrecemos una amplia selección de agujas apropiados para todos los modelos de inyectadoras.
- Cerca de 300 tipos y tamaños
- Facilidad de adaptar una aguja a su aplicación
- Fabricadas en acero inoxidable de alta calidad
- Tratadas para una mayor durabilidad y elasticidad
Anco
Belam
Fomaco
Garos
Mepsco